Frequently Asked Questions
Hier haben wir versucht alle Fragen zu beantworten die über die Zeit bei uns gestellt wurden.
Fragen zur durchsichtigen Fensterfolie
- Stark verschmutzte Rollos sollten zunächst vorsichtig abgespült werden, um groben Schmutz wie Vogelkot, Staub oder Sand zu entfernen.
- Verwenden Sie dazu reichlich lauwarmes Wasser und ein weiches, regelmäßig ausgespültes Tuch.
- Bitte nutzen Sie kein kaltes Wasser aus dem Gartenschlauch, da dies die Folie beschädigen kann.
- Achten Sie darauf, dass sich beim Wischen keine Schmutzpartikel im Tuch befinden.
- Anschließend empfehle ich, die Folie nahezu trocken zu wischen und anschließend mit VuPlex zu behandeln. VuPlex reinigt und versiegelt die Folie in einem einzigen Schritt und sorgt so für optimalen Schutz. Das Mittel ist online erhältlich
- Das Verkleben der Folie tritt meist nur bei minderwertigen China-Produkten auf, die nicht in unseren Wetter-Rollos verwendet werden.
- Sollte die Folie dennoch nach längerer Nichtbenutzung leicht aneinanderhaften, empfehle ich die Anwendung von VuPlex.
- Dieses Mittel reinigt und versiegelt die Folie zuverlässig, wirkt antistatisch und beugt einem eventuellen Verkleben vor. VuPlex ist online problemlos erhältlich
- Die Folie hat eine Stärke von 500 µm (0,5 mm), was sich in unserer Erfahrung als ideal für ein Wetterschutzrollo erwiesen hat.
- Eine dickere Folie würde sich schwerer aufrollen lassen und nicht in die Kassette passen, während eine dünnere Folie nicht die nötige Stabilität bieten würde.
- Die Folie ist kapillar wasseraufnehmend und kann in Bereichen, in denen sie nass aufgerollt wird, milchig erscheinen.
- Sobald die Folie wieder heruntergelassen wird, verdunstet das Wasser durch Sonneneinstrahlung / Wärmeeinwirkung und die Folie wird erneut klar.
Antrieb: Motor - Kurbelantrieb
Ja, Sie können wählen auf welcher Seite der Motor sitzen soll.
Bei der Auftragserteilung können Sie wählen ob der Motor und somit der Kabelaustritt von innen gesehen links oder rechts sitzen soll.

Der Motor ist serienmäßig mit einem ca. 50–70 cm langen Stromkabel ausgestattet. Die Austrittsseite des Kabels – von innen gesehen links oder rechts – können Sie selbst festlegen.
Das Kabel kann entweder unauffällig durch den Hohlraum zwischen U-Profil und Seitenschiene nach unten geführt werden oder an einer von Ihnen gewählten Stelle direkt aus der Kassette austreten. Eine Zeichnung zur besseren Orientierung finden sie anbei
Nein, der Motor sitzt innen in der Tuchwelle
Das Kabel ist in der Regel 50 - 80 cm lang.
Der Motor sollte immer von qualifiziertem Fachpersonal (Elektriker) angeschlossen werden.
Der Elektriker montiert in der Regel eine sogenannte Dose, in der sich das Strom- und das Motorkabel treffen und Fachmännisch verbunden werden.
Die Kurbel ist unterhalb der Kassette mit einem Clip am Antrieb des sogenannten Schneckengehäuses befestigt. Mit etwas Kraftaufwand kann der Clip gelöst und die Kurbel abgenommen werden.
In der Regel bleibt die Kurbel mit dem Antrieb verbunden, während die Kurbelstange in einem Clip gesichert wird, damit sie nicht lose hängt.
Nein, das ist derzeit leider nicht möglich.
1. Wählen Sie auf beiden Fernbedienungen den gleichen Kanal aus (z. B. Kanal 1 für Rollo 1, Kanal 2 für Rollo 2).
2. Drücken Sie die Einlerntaste der Master-Fernbedienung für 3 Sekunden. → Der Motor bestätigt dies mit einem „Klack“.
3. Drücken Sie die Einlerntaste der neuen Fernbedienung ebenfalls für 3 Sekunden. → Es folgt wieder ein „Klack“ (der Motor ist nun 3 Minuten im Lernmodus).
4. Zuordnung abschließen: Drücken Sie die Einlerntaste der neuen Fernbedienung erneut für 3 Sekunden. → Der Motor bestätigt die erfolgreiche Anmeldung mit „Klack – Klack“.
Hinweis: Für jedes weitere Rollo einfach den entsprechenden Kanal auswählen und die Schritte 1–4 wiederholen.
1. Bitte die Fallstange in die Mitte des Wetter-Rollos fahren, der Motor muss 6 Sekunden fahren, damit man die Endlagen löschen kann.
2. Drücken Sie die Tasten ca. 1 Sekunde in der Reihenfolge: Hoch, Runter, Runter, Hoch, Runter, Hoch, Hoch und dann die Runter Taste bis es 2 x "Klackt".
3. Jetzt können Sie die Endlagen Neu Einstellen -> Bitte programmieren Sie zuerst die untere Endlage.
Allgemeine Fragen

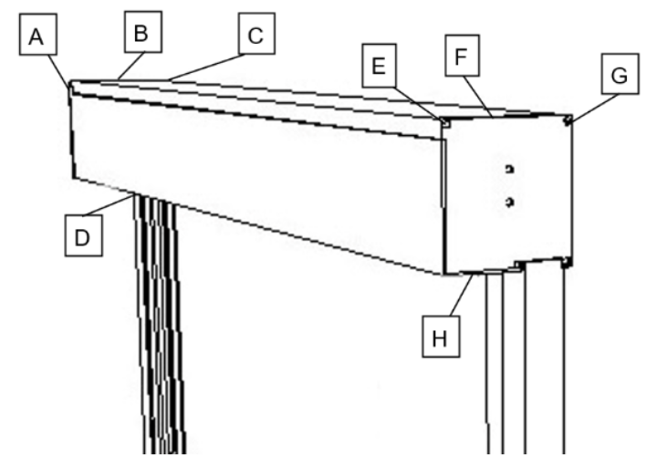
Insgesamt verlieren Sie etwa 22–24 cm an Höhe. Das setzt sich zusammen aus der Kassettenhöhe (13,5 cm), dem Kassettenhalter (0,5 cm), der Fallstange (6 cm) und der Gummilippe (4 cm).
Ein Foto dazu finden Sie anbei.
Die Kassette kann, sofern möglich, sowohl innen als auch außen am/gegen den Balken montiert werden. Dadurch geht weniger lichte Höhe verloren.

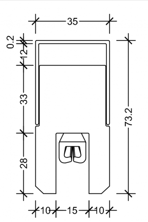
Die Schienen haben ein Maß von 7,32 x 3,5 cm. Zur Berechnung der Breite von den Gegenmontagen wird die aufgerundete Breite von 7,5 cm herangezogen.
Bis zu 4 cm Gefälle kann die Gummilippe ausgleichen, die sich unter der Fallstange befindet.
Das Werk hält große Mengen an Kassetten- und Schienenprofilen auf Lager, die bei einer Bestellung individuell zugeschnitten und konfektioniert werden. Liegt zwischen den Bestellungen nur ein kurzer Zeitraum, sind Farbabweichungen in der Regel nicht zu erwarten. Es kann sich jedoch durch Witterungseinflüsse die Farbanmutung bereits montierter Rollos verändern. Das kann dazu führen, dass nachbestellte Rollos – insbesondere bei hellen Farben – optisch leicht abweichen.
Ja, das ist möglich. Sie können das Rollo teilweise schließen und die Fallstange mithilfe eines zusätzlichen Sets Verriegelungsaufnahmen fixieren. Dadurch lässt sich die Folie auch in einer höheren Position straff spannen.
Wie das aussieht, sehen Sie in diesen Videos:
-
Ab Sekunde 20 in diesem Video (hier müssten Sie die Aufnahmen der Verriegelung auf der gewünschten höheren Position montieren)
Bei Wetter-Rollos kann Wasser unterhalb der Gummilippe oder an der Fallstange auftreten – dies ist kein technischer Mangel, sondern ein normales physikalisches Verhalten. Tropfen können durch Kapillarwirkung, Oberflächenspannung, Schwerkraft und Wind entstehen und entlang der Folie oder Dichtung ablaufen. Das Rollo ist als Wetterschutz konzipiert ist und nicht als wasserdichte Bodenabschottung wie eine Glas-Fensterfront mit Wasserablaufrinne.
Fragen zur Montage
Nein, die Kassette muss nicht zwingend von oben befestigt werden.
Eine weitere Möglichkeit ist die Montage mit Seitenbefestigungsplatten, z. B. zwischen einem Pfosten und der Hauswand.
In diesem Fall sind die Endkappen der Kassette größer ausgeführt und mit zwei Bohrungen versehen, durch die die Verschraubung erfolgt.
Diese Montageart ist allerdings nur bis zu einer Breite von 350 cm mit Garantie zulässig.
Wenn die Montage von innen gegen den Querbalken erfolgt und die Verriegelungsstifte ebenfalls innen liegen ist eine höhere Balkenhöhe unproblematisch.
Die empfohlene Maximalhöhe von 13,5 cm gilt nur bei einer Außenmontage der Kassette mit innenliegenden Verriegelungsstiften, dort können die Stifte abreissen.
Nein, dem Wetter-Rollo liegt kein Befestigungsmaterial bei. Da jede Montage unterschiedlich ist – je nach Untergrund aus Holz, Aluminium, Stahl, Ziegel, Beton oder WDVS – kann und wird kein einheitliches Befestigungssystem beigelegt werden. Ein Fachhandel kann Sie hierzu beraten, die geeigneten Schrauben und Dübel auswählen, um eine sichere Montage zu gewährleisten.
Die kleinen Schrauben sind zur Befestigung der seitlichen Führungsshiene am U-Profil und für die Montage der Aufnahme des Verriegelungsstiftes.
Diese Frage wird Ihnen in naher Zeit beantwortet
Preise und Bestellvorgang
Das Wetter-Rollo wird in Norditalien (Legnago) gefertigt und anschließend grundsätzlich per Spedition direkt zu unseren Kunden geliefert. Auch wenn eine Abholung in Travemünde theoretisch möglich wäre, würden die regulären Speditionskosten dennoch anfallen, da das Produkt in diesem Fall zunächst zu mir transportiert werden müsste. Ein Versand direkt zu Ihnen ist daher in der Regel die effizienteste und auch kostengünstigste Lösung
Wir haben den Preiskalkulator bewusst entwickelt, um Ihnen die Preisermittlung so einfach wie möglich zu machen – egal ob für ein einzelnes Rollo oder mehrere Anlagen.
Der Kalkulator ist völlig unverbindlich und es kommt durch das Absenden des Formulars kein Kaufvertrag zustande.
Sollten Sie beim Ausfüllen des Konfigurators Schwierigkeiten haben, rufen Sie mich gern an: 04502-889 589 5 – ich helfe Ihnen jederzeit weiter.
Nach Eingang Ihrer Anfrage erhalten Sie von mir ein übersichtliches, unverbindliches Komplettangebot mit allen Details.
Dabei prüfen wir auch Ihre mitgesendeten Fotos sorgfältig. Falls etwas unklar sein sollte, melden wir uns selbstverständlich bei Ihnen, um Rückfragen direkt zu klären.
Wenn Ihnen das Angebot zusagt, genügt eine kurze E-Mail mit dem Hinweis, dass Sie bestellen möchten. Für die finale Auftragsabwicklung benötige ich meist noch einige Angaben von Ihnen:
-
Bei Bestellung mit Motor:
Auf welcher Seite soll das Motorkabel austreten – von innen gesehen: links oder rechts? -
Bei Bestellung mit Kurbel:
Auf welcher Seite soll die Kurbel montiert werden – von innen gesehen: links oder rechts? -
Bei Außenmontage:
Wo soll sich die Verriegelung befinden – außen oder innen?
-> Hinweis: Bei Innenverriegelung kann der Verriegelungsstift am Kopfbalken (schräger Stützbalken) abreissen. In diesem Fall müsste der Querbalken eventuell an dieser Stelle leicht ausgefräst werden.
Sobald ich diese Informationen von Ihnen erhalten habe, sende ich Ihnen eine Auftragsbestätigung zur Prüfung und Freigabe per E-Mail.
Anschließend erhalten Sie die Vorkasserechnung. Bitte teilen Sie mir mit, welche Zahlungsart Sie bevorzugen:
-
Per Überweisung mit 3 % Skonto, oder
-
per PayPal (100 % Vorkasse, kein Rabatt möglich)
Mit dem Zahlungseingang geben Sie den Auftrag für die Produktion im Werk offiziell frei.
Sie erhalten dann eine als Bezahlt gestempelte Rechnung per E-Mail.
Die Lieferzeit beginnt mit dem Zahlungseingang und der Klärung aller Details.
Vor der Anlieferung meldet sich die Spedition telefonisch bei Ihnen.
Beschädigte Teile werden kostenfrei vom Werk an den Kunden geliefert. Die Lieferzeit für Ersatzlieferungen, insbesondere bei Sonderfarben, kann manchmal der Erstbestellung entsprechen. Ersatzteile sind ohne Probleme erhältlich.
Diese Frage wird Ihnen in naher Zeit beantwortet
Jetzt informieren und Terrassensaison verlängern
